Published:2009/6/24 4:51:00 Author:May | From:SeekIC

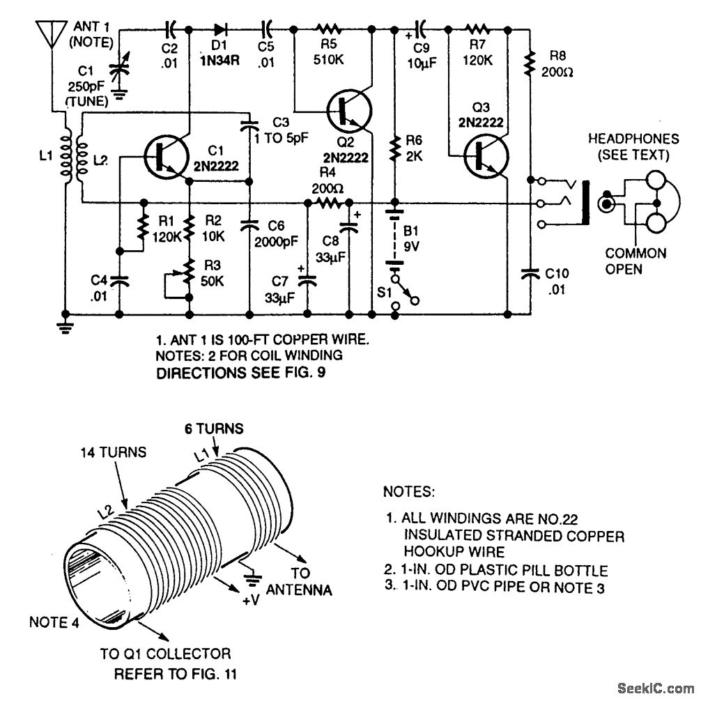
Using three transistors, this receiver covers the range of 6 to 17 MHz. Coils can be altered to change the range to a lower or higher frequency.
Reprinted Url Of This Article:
http://www.seekic.com/circuit_diagram/Communication_Circuit/ECONOMY_SHORTWAVE_RECEIVER.html
Print this Page | Comments | Reading(3)
Code: