Published:2009/7/19 22:28:00 Author:Jessie | From:SeekIC

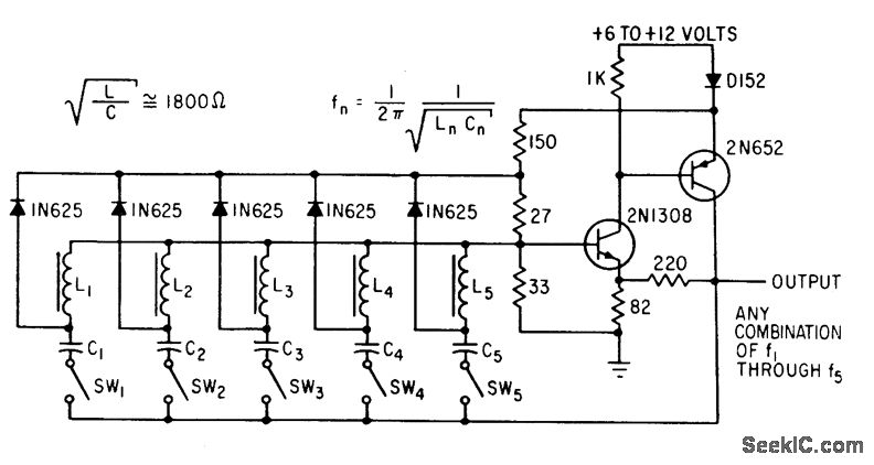
Two-transistor circuit generates up to five different tones simultaneously for five-bit parallel encoder for telemetry. Starting transients ore built up in individual series-tank circuits. Amplitude of oscillation stabilizes al value where energy from negative-resistance source equals energy lost in tanks.-R. Stapelfeldt, Multitone Oscillators-New Source of Simultaneous Frequencies, Electronics, 36:1, p 86-87.
Reprinted Url Of This Article:
http://www.seekic.com/circuit_diagram/Communication_Circuit/FIVE_FREQUENCY__OSCI_LLATOR.html
Print this Page | Comments | Reading(3)
Code: