Published:2009/7/11 1:54:00 Author:May | From:SeekIC

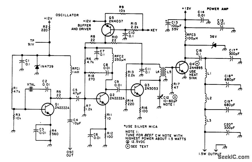
Suitable for amateur use, this 1.5-W transmitter runs on a 12-V supply. Q1 is an oscillator using a surplus FT243 crystal. Q2 is a buffer driver and is keyed via keying transistor Q5. Q3 acts as a driver for Q4 (which should be heatsinked). Q4 develops about 1.5-W output. Coil data is given in the parts list. C12 is adjusted for best power output.
Reprinted Url Of This Article:
http://www.seekic.com/circuit_diagram/Communication_Circuit/HF_LOW_POWER_CW_TRANSMITTER.html
Print this Page | Comments | Reading(3)
Code: