Published:2009/7/15 22:14:00 Author:Jessie | From:SeekIC

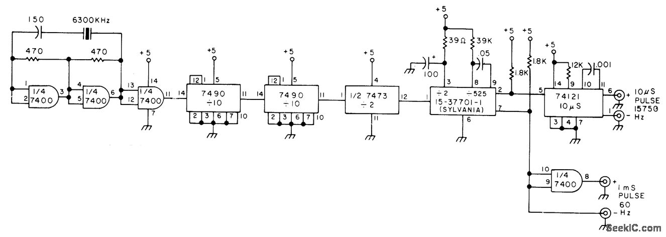
Uses Sylvania 15-37701-1 IC made by Texas Instruments for 1974 Sylvania color TVs, where it serves to generate sync signals whenever off-the-air sync is temporarily Lost. IC has divide-by-2, divide-by-25, and mono MVBR stages. Used in circuit shown to provide interlaced sync for black and white amateur TV camera, Required 31.5-kHz input is obtained from 6300-kHz crystal oscillator and three flip-flops that divide by 200 With 74121 mono and 7400 gate connected as shown, interlaced sync outputs are obtained.-R. Suding, Master Sync Generator, 73 Magazine, July 1975, p 96.
Reprinted Url Of This Article:
http://www.seekic.com/circuit_diagram/Communication_Circuit/INTERLACED_SYNC.html
Print this Page | Comments | Reading(3)
Code: