Published:2009/6/24 21:36:00 Author:May | From:SeekIC



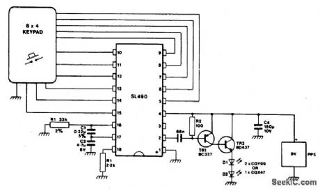
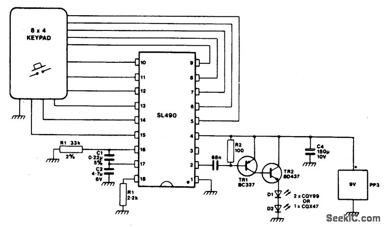
This simple infra-red transmitter, where the PPM output from pin 2 of the SL490 is fed to the base of the PNP trasmitter TR1, produces an amplified current pulse about 15,μsec wide. This pulse is further amplified by TR2 and applied to the infra-red diodes D1 and D2.
Reprinted Url Of This Article:
http://www.seekic.com/circuit_diagram/Communication_Circuit/IR_TRANSMITTER.html
Print this Page | Comments | Reading(3)
Code: