Published:2009/6/18 2:24:00 Author:May | From:SeekIC


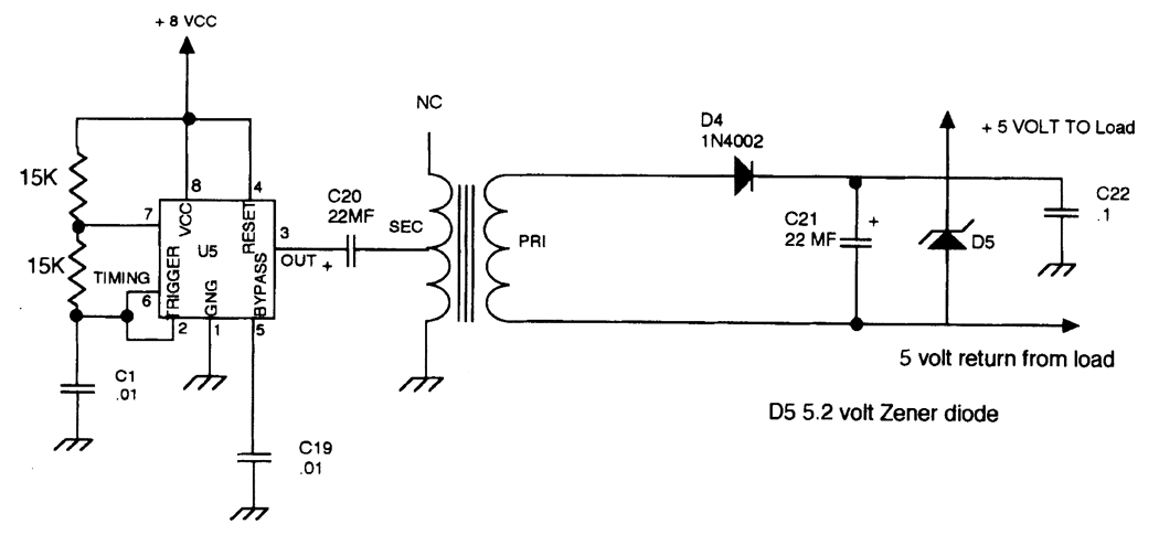
A NE555 timer is used to drive a small transformer to change the 5- to T-Vp-p output of the NE555 to a suitable value to drive a rectifier/Zener combination. This method is useful where a small isolated power source is needed.
Reprinted Url Of This Article:
http://www.seekic.com/circuit_diagram/Communication_Circuit/ISOLATED_dc_to_dc_CONVERTER.html
Print this Page | Comments | Reading(3)
Code: