Published:2009/7/15 2:59:00 Author:Jessie | From:SeekIC

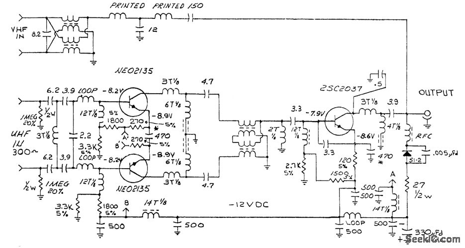
Special push-pull input stage using low-noise UHF transistors gives average preamp noise figure as low as 2.2 dB. Can be used with 300-ohm line of broad-band UHF antenna without usual balun trans-former or differential input stage. Balun is used after amplifier to transform push-pull output to input of single-ended second stage without de-grading noise figure. Developed for use with new deep-fringe-area UHF TV antenna having three flat in-line director elements, for over-the-air reception of UHF TV programs in areas previously having no watch able pictures.-J. E. Kluge, Advanced Antenna Design and an Ultra-low-Noise Preamplifier Extend UHF Viewing Area, IEEE Transactions on Broadcasting, March 1977, p 17-22.
Reprinted Url Of This Article:
http://www.seekic.com/circuit_diagram/Communication_Circuit/LOW_NOISE_UHF_PREAMP.html
Print this Page | Comments | Reading(3)
Code: