Published:2009/6/17 22:17:00 Author:May | From:SeekIC

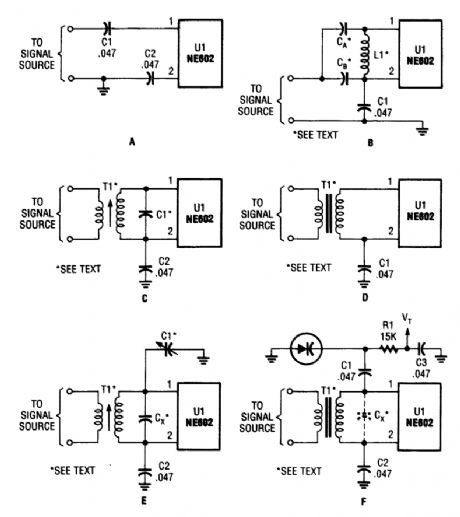
Here are a few of the many possible RE input circuits for the NE602. Just about any tuned or broadband circuit will work.
Reprinted Url Of This Article:
http://www.seekic.com/circuit_diagram/Communication_Circuit/NE602_RF_INPUT_CIRCUITS.html
Print this Page | Comments | Reading(3)
Code: