Published:2009/6/17 22:13:00 Author:May | From:SeekIC

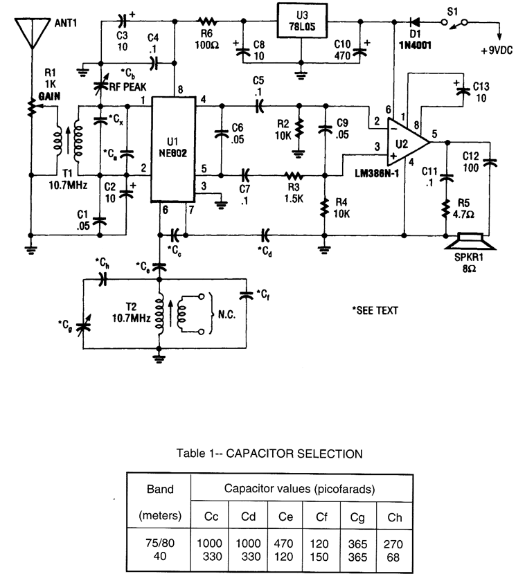
An NEC602 is used as a mixer with a zero IF frequency output. U2 acts as an audio amplifier. This receiver is primarily for SSB and CW signals. T1 and T2 are 10.7-MHz IF coils used in AM/FM transistorized radios, etc. or in any similar indicator.
Reprinted Url Of This Article:
http://www.seekic.com/circuit_diagram/Communication_Circuit/NE6O2_DIRECT_CONVERSION_RECEIVER.html
Print this Page | Comments | Reading(3)
Code: