Published:2009/6/24 4:24:00 Author:Jessie | From:SeekIC

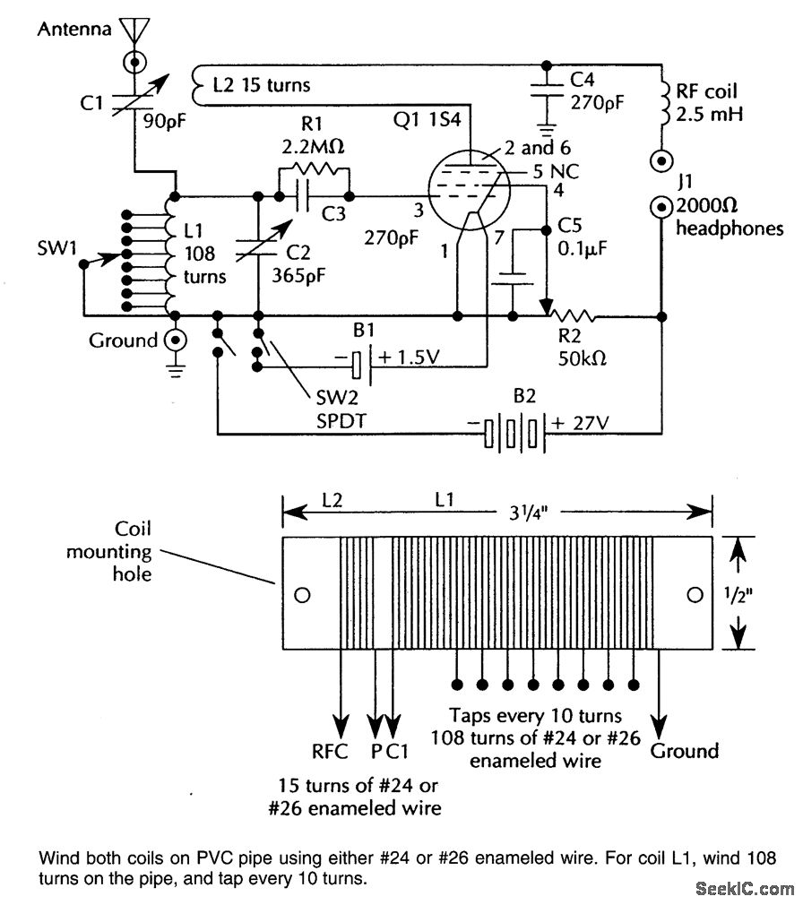
Suitable for AM reception and as a simple radio project, this circuit uses a single tube as a regenerative detector.
Reprinted Url Of This Article:
http://www.seekic.com/circuit_diagram/Communication_Circuit/ONE_TUBE_REGENERATIVE_AM_RECEIVER.html
Print this Page | Comments | Reading(3)
Code: