Published:2011/7/5 10:22:00 Author:Felicity | Keyword: Temperature Controller (the 4th) | From:SeekIC

Work of the circuit
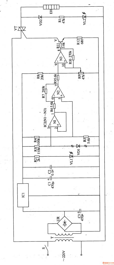
The circuit consists of power circuit, control implementation circuit and temperature detection and control circuit. (It is showed in picture 8-108.)
Power circuit consists of power switch S, the power transformer T, rectifier bridge pile UR. Filter capacitors C1-C3, three-terminal voltage regulator integrated circuit ICl, resistor R2 and the power indicator LED VLl.
Control implementation circuit consists of Resistor RlI, Rl2, transistor V and thyristor VT.
Temperature detection and control circuit consists of temperature detection diode VDl, resistors R3-RlO, operational amplifier integrated circuit IC2 (Nl-N3) and potentiometer RP.
Reprinted Url Of This Article:
http://www.seekic.com/circuit_diagram/Communication_Circuit/Other_circuit/Temperature_Controller_the_4th.html
Print this Page | Comments | Reading(3)
Code: