Published:2011/7/5 10:23:00 Author:Felicity | Keyword: Temperature Controller (the 5th) | From:SeekIC

Work of the circuit
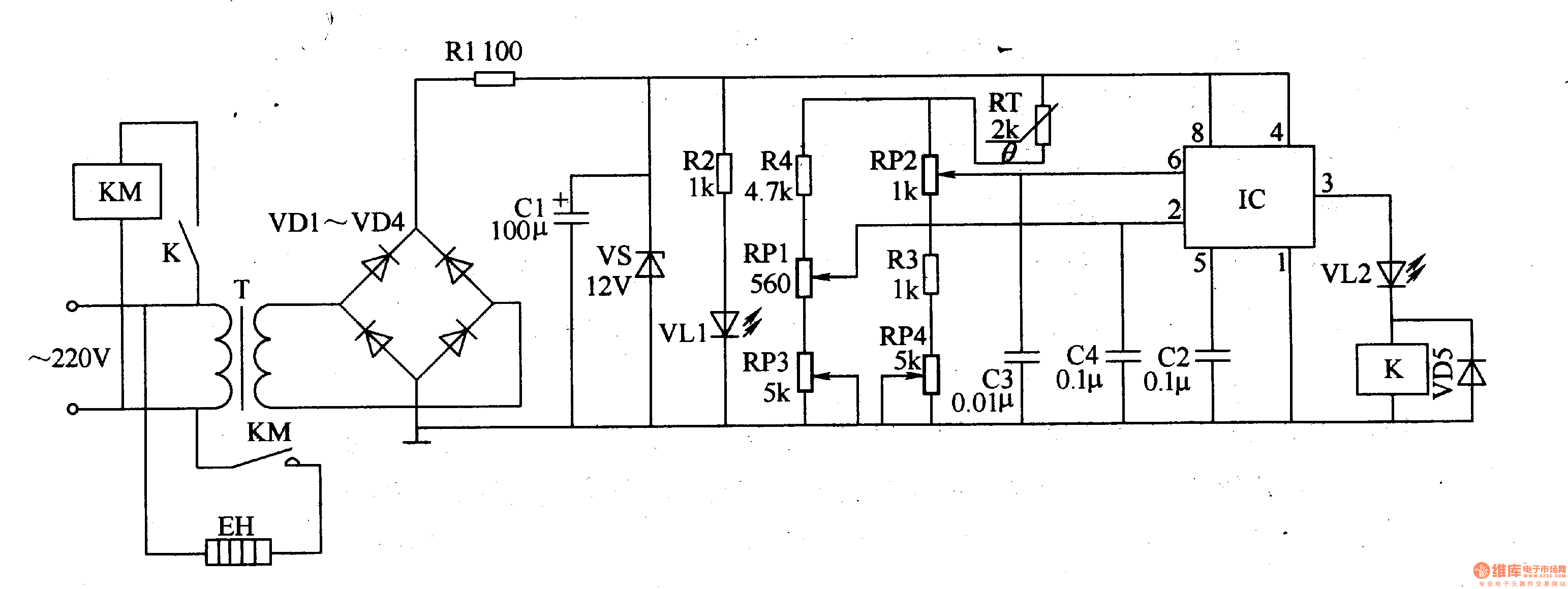
The circuit consists of power circuit, temperature detection and control circuit and control implementation circuit. (It is showed in picture 8-109.)
Power circuit consists of power transformer T, rectifier diode VDl-VD4, resistors Rl and R2, the power indicator LED VLl, filter capacitors Cl and voltage regulator diode VS.
Temperature detection consists of thermistor RT, time-base integrated circuit IC, potentiometer RPl-RP4, resistors R3 and R4 and capacitors C2-C4.
Control circuit and control implementation circuit consists of relay Kl, light-emitting diodes VL2, diodes VD5, AC contactor KM and electric heater EH.
Reprinted Url Of This Article:
http://www.seekic.com/circuit_diagram/Communication_Circuit/Other_circuit/Temperature_Controller_the_5th.html
Print this Page | Comments | Reading(3)
Code: