Published:2009/7/19 22:20:00 Author:Jessie | From:SeekIC

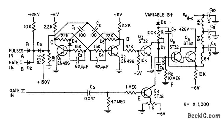
Input is modified two-input semiconductor diode and sate, driving bistable mvbr, modified bootstrap sweep, and filter to give d-c data voltage output.-L. Weisman, Telemetry Demodulator Using Modified And Gate, Electronics, 32:8, p 54-57.
Reprinted Url Of This Article:
http://www.seekic.com/circuit_diagram/Communication_Circuit/PPM_DEMAODULATOR.html
Print this Page | Comments | Reading(3)
Code: