Published:2009/6/23 1:41:00 Author:Jessie | From:SeekIC

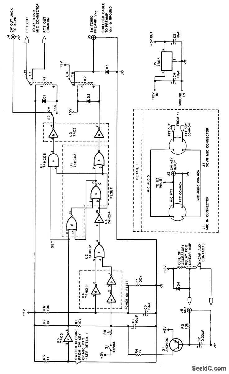
This circuit is useful in amateur radio VHF and UHF work where a mast-mounted antenna preamp is used for receiving. The kit controls T-R switching and change-over relay sequencing so that high RE levels are prevented from accidentally being applied to the preamplifier during switching intervals.
Reprinted Url Of This Article:
http://www.seekic.com/circuit_diagram/Communication_Circuit/PREAMP_TRANSMIT_RECEIVE_SEQUENCER.html
Print this Page | Comments | Reading(3)
Code: