Published:2009/7/19 22:33:00 Author:Jessie | From:SeekIC

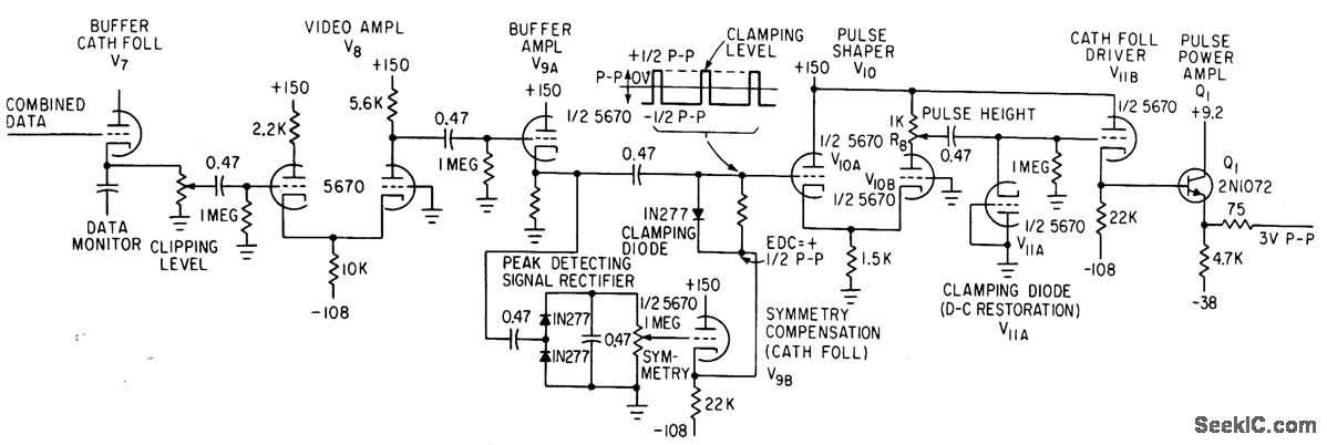
Serves as output amplifier for pcm and pdm signals from diversity combiner circuit. Over-amplification and dipping stages give fast rise and decay time without risk of false triggering.-W. Casson and R. C. Robinson, Versatile Diversity Combiner Handles Most Missile-Range Signals, Electronics, 35:44, p 40-43.
Reprinted Url Of This Article:
http://www.seekic.com/circuit_diagram/Communication_Circuit/PULSE_RESHAPER.html
Print this Page | Comments | Reading(3)
Code: