Published:2009/7/19 21:55:00 Author:Jessie | From:SeekIC

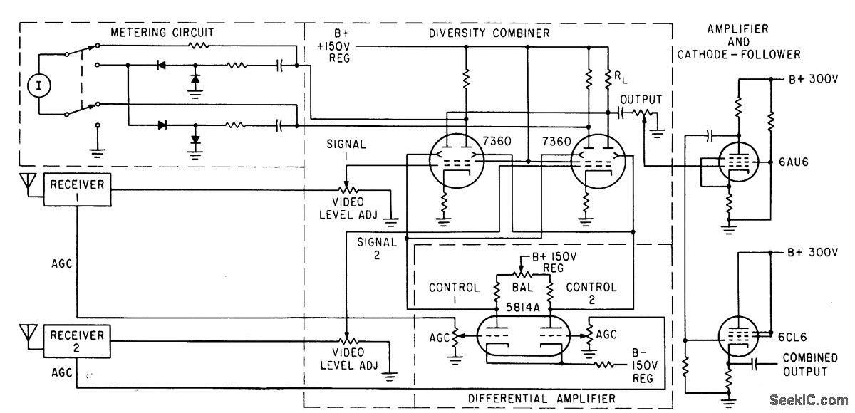
Beam-deflection lubes provide ratio-squared combining of two telemetry receiving channels, to counteract fading signals from tumbling or spinning spacecraft missile. Video signals go directly to control grids of type 7360 defiection tubes, while control voltages from receivers are applied to the respective deflection electrodes through differential amplifier,-V,A.Rafner, Telemetry Diversity Combiner Uses Beam Deflection Technique, Electronics, 35:4, p 42-43.
Reprinted Url Of This Article:
http://www.seekic.com/circuit_diagram/Communication_Circuit/TWO_CHANNEL_DIVERSITY_COMBINER.html
Print this Page | Comments | Reading(3)
Code: