Published:2009/6/19 4:20:00 Author:May | From:SeekIC

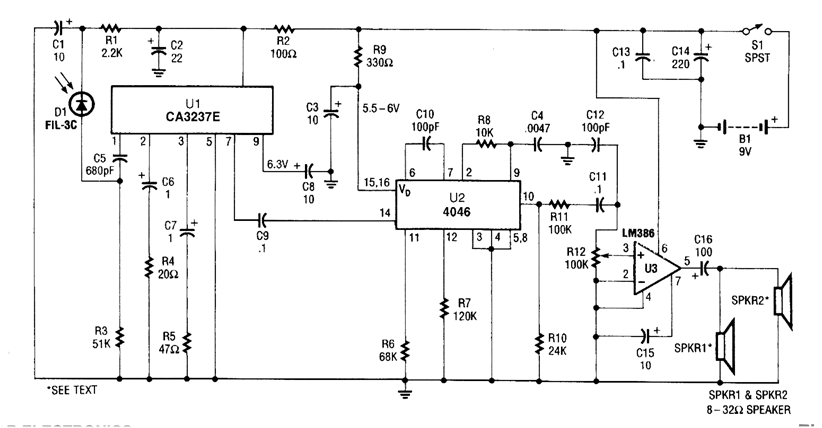
A photodiode D1 feeds high gain IR remote control preamp IC, a CA3237E. U2 is a PLL FM de-tector tuned to around 100 kHz. The detector output is amplified by U3 and it can drive a speaker or a set of headphones.
Reprinted Url Of This Article:
http://www.seekic.com/circuit_diagram/Communication_Circuit/WIRELESS_IR_HEADPHONE_RECEIVER.html
Print this Page | Comments | Reading(3)
Code: