Published:2009/7/12 21:49:00 Author:May | From:SeekIC

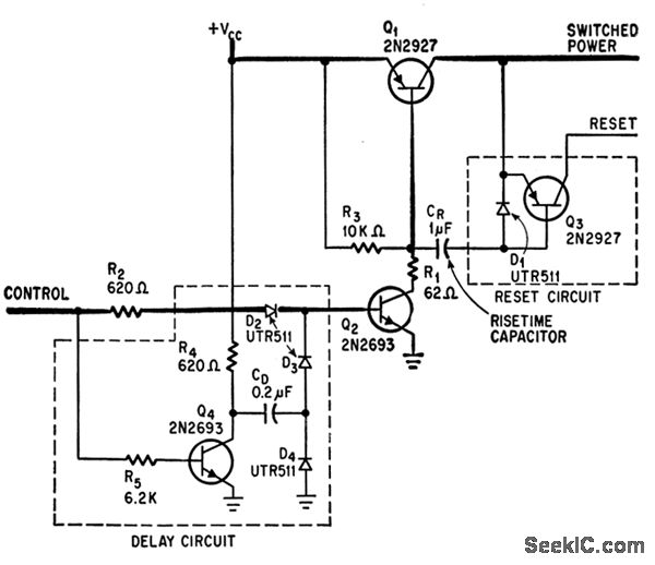
Conserves battlery power by automatically disconnecting sections of computer when they are nol in use. Q1 and Q2 serve as switch,while Q3 generates automatic reset pulse when power turns on.When control line is at ground,no power is supplied on output line.Q4 delays Power turnoff for short time after control signal drops.-R.A.Clift,Power Switching Trims Digital System Weight, Cost Electronics,39:12,p135-138.
Reprinted Url Of This Article:
http://www.seekic.com/circuit_diagram/Computer-Related_Circuit/SPACECRAFT_COMPUTER_POWER_SWITCHING.html
Print this Page | Comments | Reading(3)
Code: