Published:2009/7/21 23:16:00 Author:Jessie | From:SeekIC

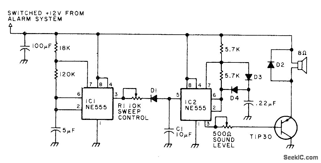
Generates force field of high-intensity sound inside car, painful enough to discourage thief from entering car after tripping alarm switch by opening door.Circuit produces square-wave output that sweeps up and down in frequency. Modulation is provided by triangle waveform generated by R1, D1, and C1. If sweep-frequency siren is prohibited, remove C1 to produce legal two-tone sound. Use efficient horn loudspeaker capable of handling up to 10W. D2 is silicon rectifier rated 1 A at 50 PIV. Other diodes are general-purpose silicon.-A. T. Roderick III, New Protection for Your Car, 73 Magazine, March 1978, p 76-77.
Reprinted Url Of This Article:
http://www.seekic.com/circuit_diagram/Control_Circuit/10_W_AUTO_ALARM_SIREN.html
Print this Page | Comments | Reading(3)
Code: