Published:2009/7/15 3:33:00 Author:Jessie | From:SeekIC

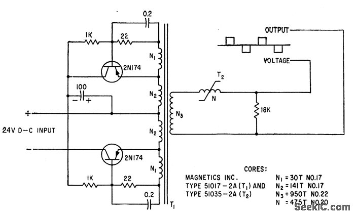
Will replace sine-wave source because square wave output is modified by series saturable reactor to have same rms and average values as pure sine wave.-D. Levy, Replacing Sine Wave Sources with Solid-Stale Inverters, Electronics, 34:26, p 80-83.
Reprinted Url Of This Article:
http://www.seekic.com/circuit_diagram/Control_Circuit/24_V_D_C_TO_SQUARE_WAVE_A_C.html
Print this Page | Comments | Reading(3)
Code: