Published:2009/6/30 23:13:00 Author:May | From:SeekIC

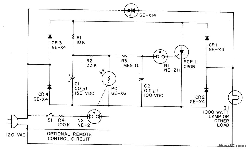
CR1, CR2, CR3, and CR4 form a bridge circuit with the SCR across the dc legs.With light on the photoconductor PC1, C1 charges through R1 to about 150 Vdc. The resistance of PC1 is low when illuminated, so very little voltage appears across it or C2. At about 90 volts C1 starts discharging through RI and the SCR, but the SCR cannot turn off until C1 is almost completely discharged. When the SCR turns off during the interval line voltage is near zero, the full supply voltage again appears across the bridge, and C1 charges again to a high voltage. The voltage on C2 also starts rising until the neon lamp fires and the cycle repeats. An alternative remote control can be made by adding a second neon lamp, N2, and masking the photocell so it sees only N2. A very sensitive remote control is thus obtained that is completely isolated from the load circuit.For low-voltage remote control a flashlight lamp may be used instead of N2 and operated at about 1/2 its normal voltage thus giv.ing exceptionally long life. Performance of the photoelectric control may be inverted (flash when the photoconductor is illuminated) by interchanging PC1,and R2.Sensitivity in either the normal or inverted modes can be decreased by partially masking PC1, and can be increased by increasing resistor R2 to about 470 K. To increase on time, increase C1; to increase off time, increase R3.
Reprinted Url Of This Article:
http://www.seekic.com/circuit_diagram/Control_Circuit/2_kW_FLASHER_WITH_PHOTOELECTRIC_CONTROL.html
Print this Page | Comments | Reading(3)
Code: