Published:2009/7/21 22:00:00 Author:Jessie | From:SeekIC

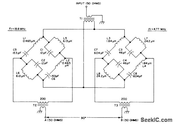
Wide-band passive AF phaseshift network makes direct-conversion SSB generation possible Bridge networks each provide 45°phase shift, to give differential phase shift of 90°over entire frequency range with maximum phase error of about 1° Overall loss of network is about 6 dB,T1,T2,and T3 are wound on Neosid 1050-1-F14 of Indiana General F684-1 balun core. Twist together three 7-inch lengths of No. 26 enamel and wind 3 turns through the two holes. Connect two wires in series for 200-ohm windings. Article gives data for winding all other coils.-R. Harrison, A Review of SSB Phasing Teqhniques, Ham Radio, Jan. 1978, p 52-62.
Reprinted Url Of This Article:
http://www.seekic.com/circuit_diagram/Control_Circuit/3_30_MHz_QUADRATURE_PHASE_SHIFT.html
Print this Page | Comments | Reading(3)
Code: