Published:2009/6/17 22:53:00 Author:May | From:SeekIC

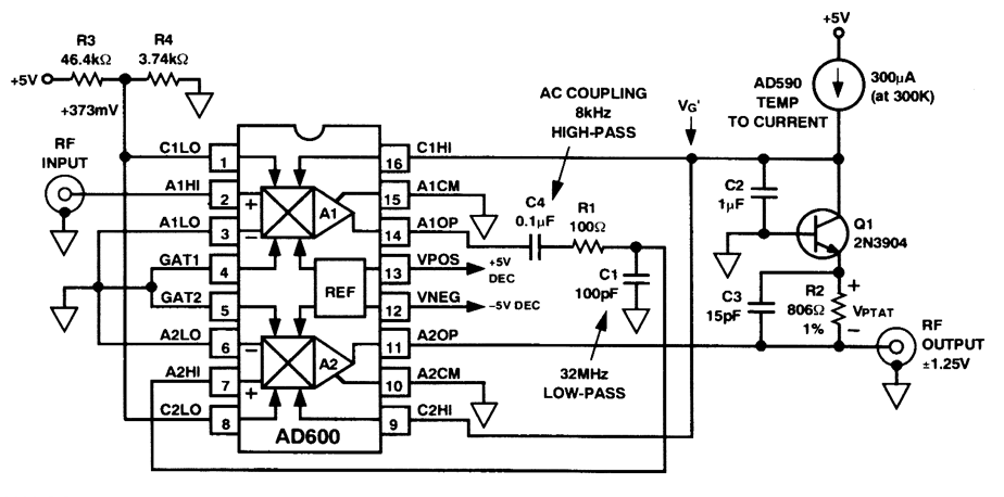
The AD600 dual voltage-controlled amplifier In this circuit provides a 3-MHz AGC system with80-dB range.
Reprinted Url Of This Article:
http://www.seekic.com/circuit_diagram/Control_Circuit/3_MHz_LOW_NOISE_AGO_SYSTEM.html
Print this Page | Comments | Reading(3)
Code: