Published:2011/5/22 7:32:00 Author:TaoXi | Keyword: light control, automatic flashing, road-sign light | From:SeekIC

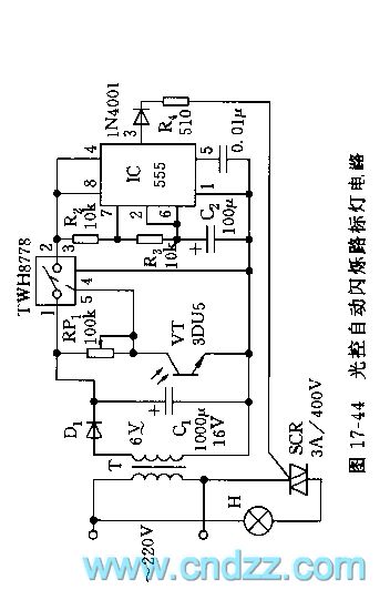
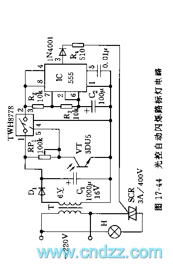
As the figure 17-44 shows, the circuit is composed of the transformer rectifier circuit, the light control switch and the 555 astable multivibrator.etc. The VT tube is the 3DU-type phototransistor, when there is the illumination, the port voltage of this transistor is less than 1.6V, the power switching tube TWH8778 cuts off because the control voltage of pin-5 is low, 555 has no power supply voltage. At night, the photodiode resistance increases, the circuit opens, the TWH8778 control port pin-5's voltage is higher than 1.6V, 555 get power to work, the oscillation frequency f=1/1.44(R2+R3)C2.
Reprinted Url Of This Article:
http://www.seekic.com/circuit_diagram/Control_Circuit/555_light_control_automatic_flashing_road_sign_light_circuit.html
Print this Page | Comments | Reading(3)
Code: