Published:2009/6/24 3:22:00 Author:Jessie | From:SeekIC

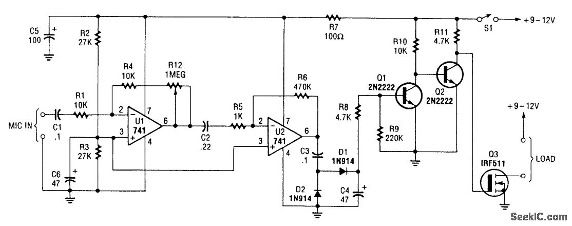
The audio-controlled switch combines a pair of 741 op amps, two 2N222 general-purpose tran-sistors, a HEXFET, and a few support components to produce a circuit that can be used to turn on a tape recorder, a transmitter, or just about anything using sound.
Reprinted Url Of This Article:
http://www.seekic.com/circuit_diagram/Control_Circuit/AUDIO_CONTROLLED_SWITCH.html
Print this Page | Comments | Reading(3)
Code: