Published:2009/6/17 22:56:00 Author:May | From:SeekIC

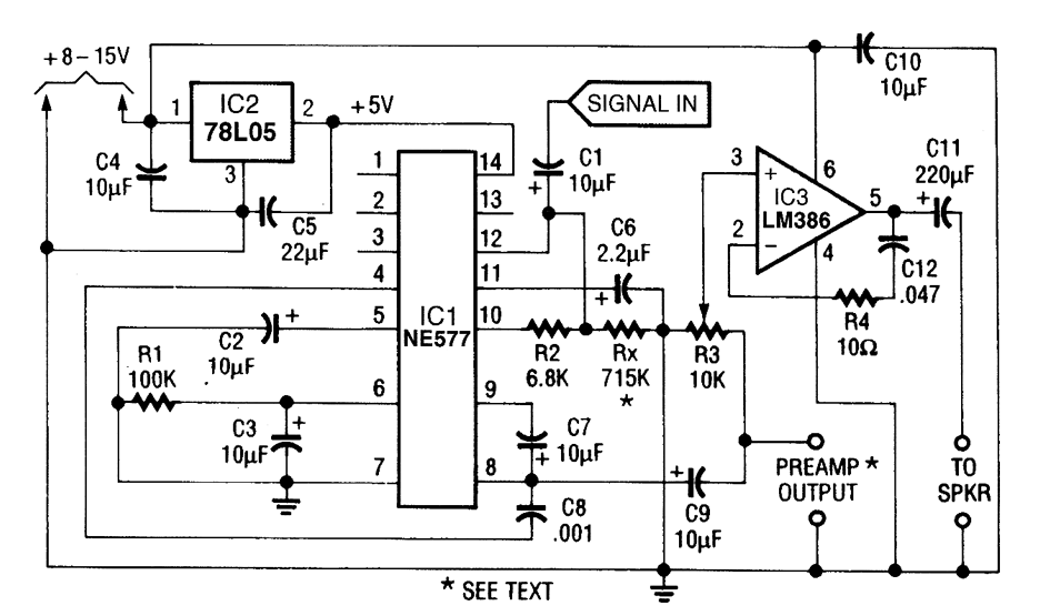
A low power programmable compandor chip, the Signetics NE577IC is used. Incoming audio is compressed, rectified and conditioned so that the input signal level always remains about the noise level. The compressor is an ALC circuit that outputs a constant level and the expander part of the IC is not used.
Reprinted Url Of This Article:
http://www.seekic.com/circuit_diagram/Control_Circuit/AUDIO_LEVELER.html
Print this Page | Comments | Reading(3)
Code: