Published:2009/7/13 21:44:00 Author:May | From:SeekIC

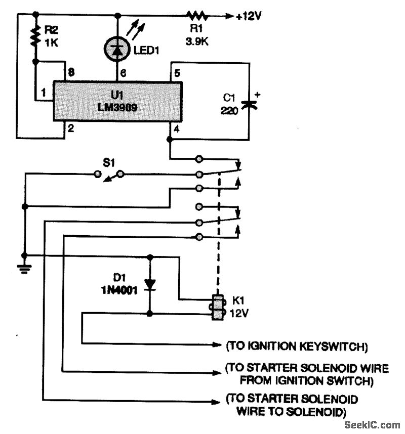
Combining two functions in one, this circuit is both a passive cutoff device and a fake car alarm Depressing S1 with the key in the RUN position disables the flasher and allows the car to start.
Reprinted Url Of This Article:
http://www.seekic.com/circuit_diagram/Control_Circuit/AUTO_SECURITY_DEVICE_1.html
Print this Page | Comments | Reading(3)
Code: