Published:2011/5/22 20:19:00 Author:Sue | Keyword: Agricultural, Automatic, Water Feeder | From:SeekIC

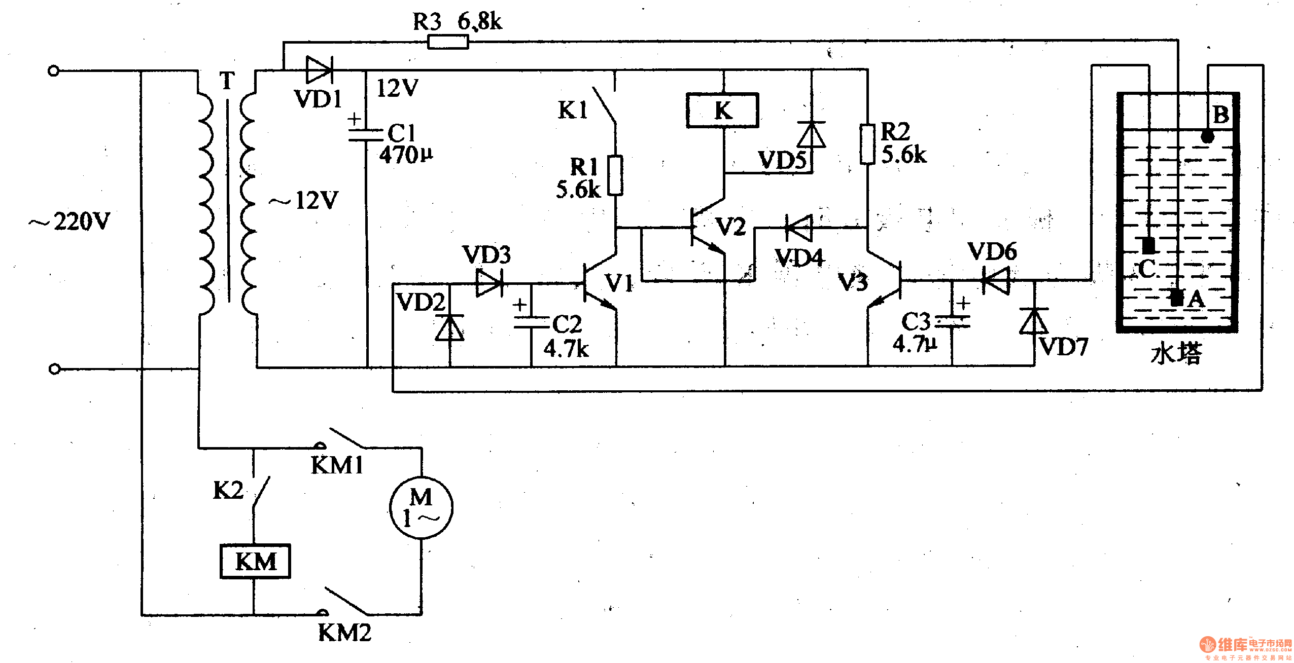
When the level is lower than c, V1 V3 are disconnected and +12V voltage is put on V2, making V2 connected.K is connected and KM begins to work. M begins to feed water.
When the level reaches C, V3 has a low level and is connected. Its integrated electrode becomes low level. VD4 is disconnected and K1 is connected. M keeps on working.
When the level reaches b, V1 has a high level and is connected. Its integrated electrode becomes low level. V2 is disconnected and K is released. M stops working . When the level is lower than the lowest level, M begins to feed water again.
Reprinted Url Of This Article:
http://www.seekic.com/circuit_diagram/Control_Circuit/Agricultural_Automatic_Water_Feeder_10.html
Print this Page | Comments | Reading(3)
Code: