Published:2011/5/22 20:41:00 Author:Sue | Keyword: Agricultural, Automatic, Water Feeder | From:SeekIC

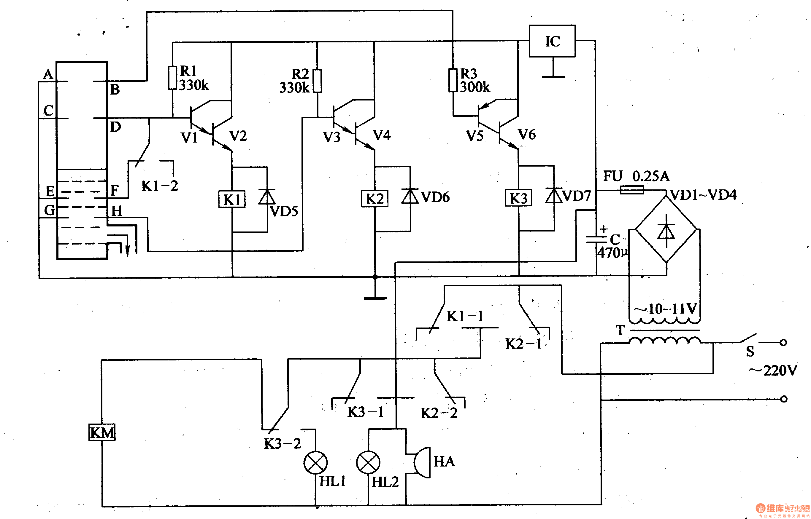
When the level is lower than E,F, V1 and V2 are connected and K1 is connected. KM is connected and M begins to feed water. When the level is higher than C,D, V1 and V2 are disconnected and K is relealsed. KM is released and M stops working. When the level is lower than E,F, M begins to work again.
If C,D or D,F stop working, the protection system will begin to work. When the level is higher than C,D, M is still working. When the level reaches the highest, V5,V6 are connected and KM is released. M stops working. At the same time, the HL1 HL2 will be illuminated. HA will make an alarm sound.Ifthe level is lower than E,F, M is still not working, V3,V4 will be connected and KM is connected. M will begin to feed water. HL2 is illuminated and HA makes an alarm sound.
Reprinted Url Of This Article:
http://www.seekic.com/circuit_diagram/Control_Circuit/Agricultural_Automatic_Water_Feeder_15.html
Print this Page | Comments | Reading(3)
Code: