Published:2011/8/6 21:05:00 Author:Felicity | Keyword: Agricultural Irrigation, Controller | From:SeekIC

Work of the circuit
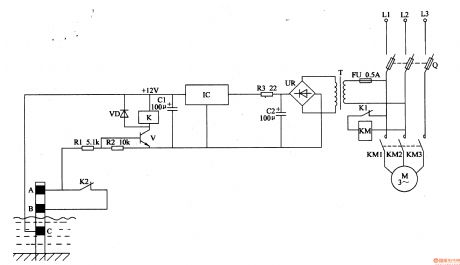
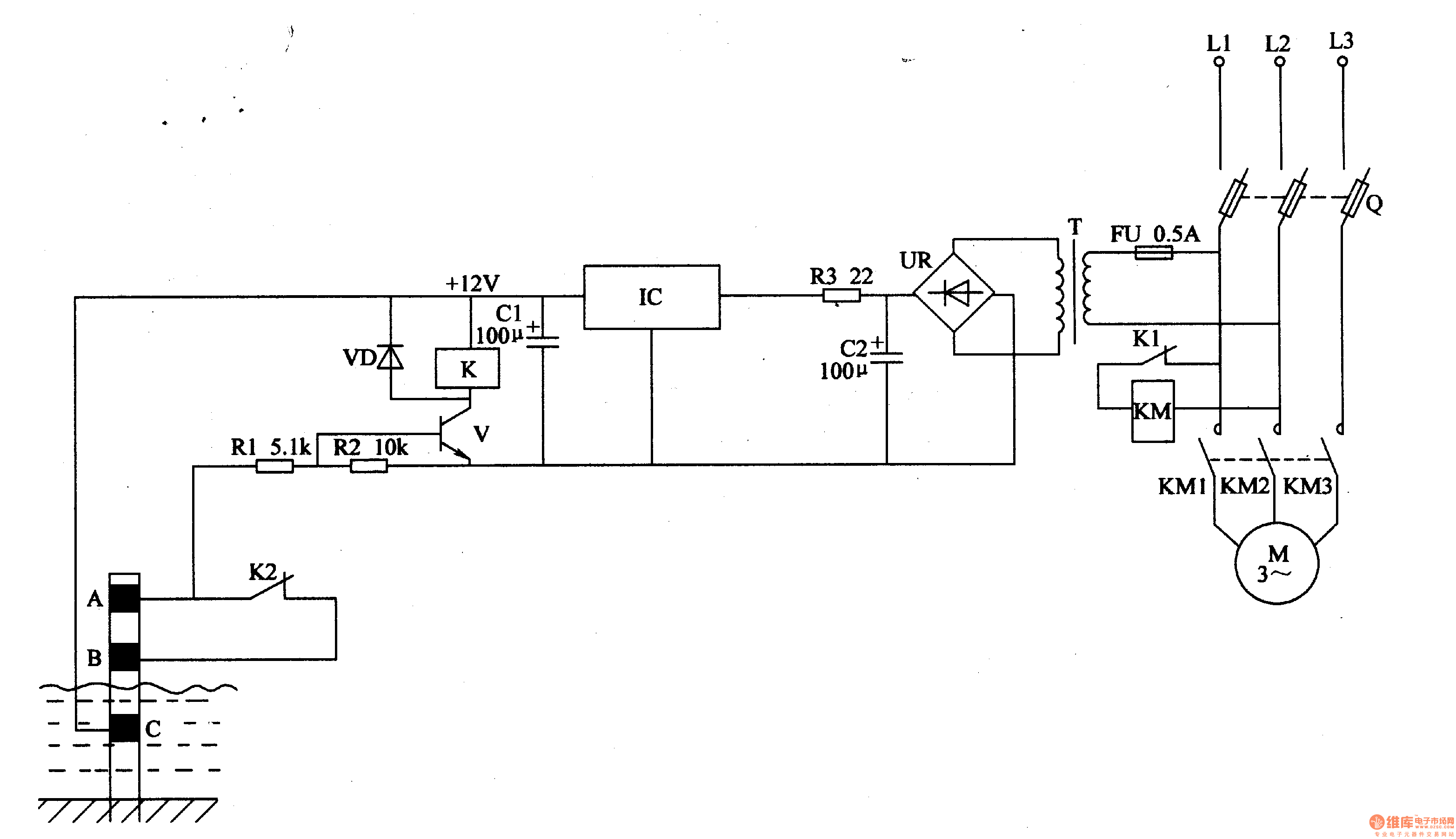
The circuit consists of power circuit and level detection control circuit. (It is showed in picture 4-91.)
Power circuit consists of fuse FU, power transformer T, bridge rectifier, UR, filter capacitors Cl, C2, limiting resistors R3 and integrated three-terminal regulator IC.
Level detection control circuit consists of high water level electrode A, the low water level electrode B, the main electrode C, resistors Rl, R2, transistor V, Relay K, diode VD and AC contactor KM.
Reprinted Url Of This Article:
http://www.seekic.com/circuit_diagram/Control_Circuit/Agricultural_Irrigation_Controller_the_1st.html
Print this Page | Comments | Reading(3)
Code: