Published:2011/8/6 21:06:00 Author:Felicity | Keyword: Agricultural Irrigation, Controller | From:SeekIC

Work of the circuit
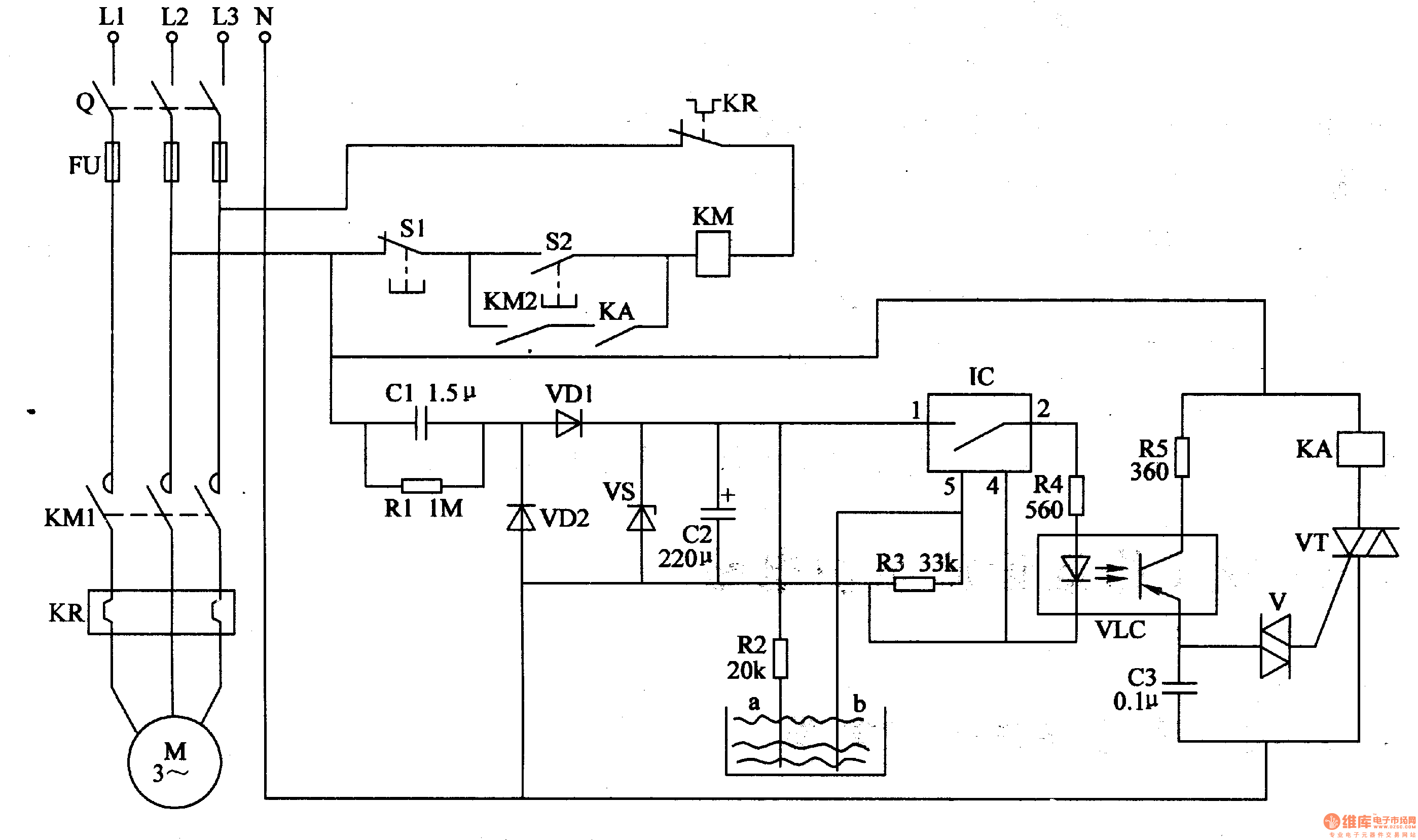
The circuit consists of power circuit, level detection control circuit and control implication circuit. (It is showed in picture 4-92.)
Power circuit consists of Buck capacitor Cl, discharge resistors Rl, rectifier diodes VDl, VD2, voltage regulator diode VS and filter capacitor C2.
Level detection control circuit consists of level detection electrodes a, b, resistors R2-R4, electronic integrated switching circuits and optical fused devices VLC.
Control implication circuit consists of Light garnet together control VLC, capacitor C3, resistor R5, bi-directional trigger diode V, VT and relay thyristor KA.
Reprinted Url Of This Article:
http://www.seekic.com/circuit_diagram/Control_Circuit/Agricultural_Irrigation_Controller_the_2nd.html
Print this Page | Comments | Reading(3)
Code: