Published:2011/7/29 4:44:00 Author:Felicity | Keyword: Anti-theft Alarm, Motorcycle | From:SeekIC

Work of the circuit
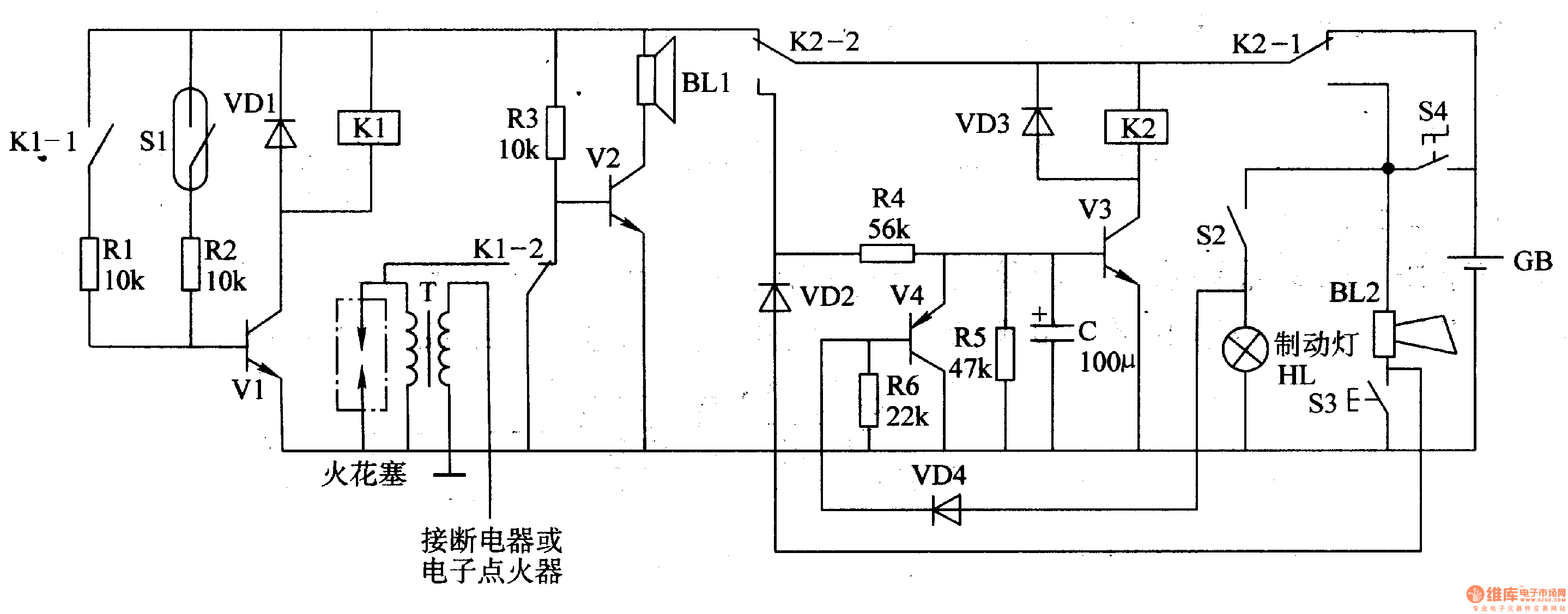
The circuit consists of trigger circuit, alarm control circuit and the reset the alarm circuit. (It is showed in picture 7-84.)
Trigger circuit consists of Mercury switches Sl, resistor cell, transistors Vl and relay Kl.
Alarm control circuit consists of the relay contacts Kl Kl-l, Kl-2, transistor V2, resistors R3 and Rl and alarm speaker BLl.
The reset the alarm circuit consists of transistors V3 and V4, the diode VD2-VD4 and relay K2.
Usually, the mercury switch S1 is off and the circuit stands by.
As soon as the theft upright the motor, the mercury switch S1 turns on to make V1 and K1 on. On one hand the normally open contact of K1-1 closes to ensure that V1 is on, on the other hand the normally close contact of K1-2 releases, and the normally open contact closes to make V2 on and BL sends out alarm, and the non-grounding terminal of the high voltage ignition coil T is connected to ground through the normally open contact of K1-2 and the motorcycle cannot start.
When the motorcycle key is plugged in and step on the brake for a while, V3 will in the on-state and the alarm will be discharged.
Reprinted Url Of This Article:
http://www.seekic.com/circuit_diagram/Control_Circuit/Alarm_Control/Anti_theft_Alarm_Of_Motorcycle_One.html
Print this Page | Comments | Reading(3)
Code: