Published:2012/9/11 21:32:00 Author:Ecco | Keyword: Auto-Arming, Car Alarm | From:SeekIC

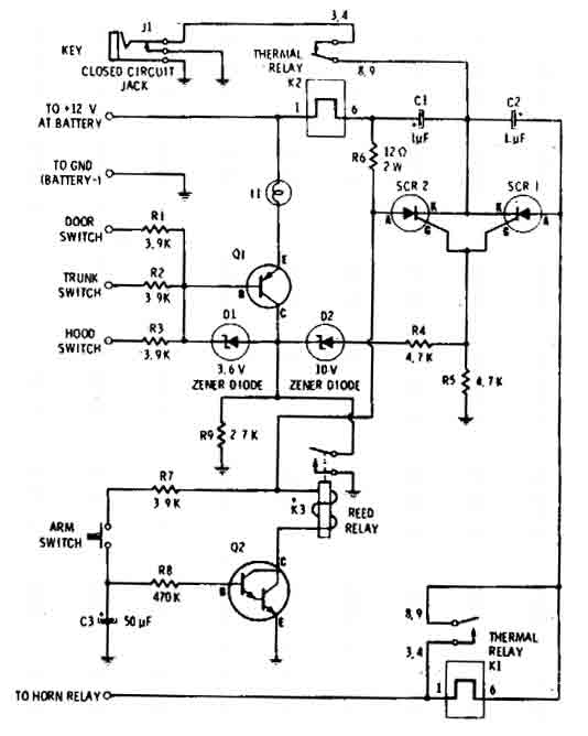
The car alarm here is a simple circuit with basic characteristics that cover all entrances at the car that has switches (doors etc).With one switch (arm-switch) the circuit waits for the sensor-switches to open and to activate it. So the horn with 1 sec pulses will sound imediatelly seconds so the driver can enter in car and disactivate the arming switch.
Reprinted Url Of This Article:
http://www.seekic.com/circuit_diagram/Control_Circuit/Alarm_Control/Auto_Arming_Car_Alarm_circuit.html
Print this Page | Comments | Reading(3)
Code: