Published:2009/6/30 1:42:00 Author:May | From:SeekIC

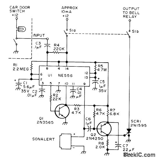
Alarm remains on even if signal from car door switch or other sensor is only momentary, so relay is wired to be selflatching until keyswitch S1 is tumed off. Use hood locks or hood-opening sensors to prevent thief from disabling alarm by cutting battery cable. Circuit indudes time delay of 6 s for entering car and shutting off alarm, to avoid need for extemal keyswitch. Sonalert makes loud tone during 6-s delay period to remind driver that alarm needs to be turned off. At end of 6 s, Sonalert stops and much louder bell is energized to further discourage intruder.-J. Pawlan, The Smart Alarm, 73 Magazind, June 1975. p 37-41.
Reprinted Url Of This Article:
http://www.seekic.com/circuit_diagram/Control_Circuit/Alarm_Control/CAR_THEFT_ALARM.html
Print this Page | Comments | Reading(3)
Code: