Published:2009/6/18 1:58:00 Author:May | From:SeekIC

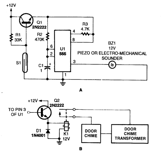
This simple sounder (AJ makes a good door annunciator. If the buzzer is replaced with the circuit in B, the annunciator can be made more pleasant to the ear.
Reprinted Url Of This Article:
http://www.seekic.com/circuit_diagram/Control_Circuit/Alarm_Control/DOOR_AJAR_INDIGATOR.html
Print this Page | Comments | Reading(3)
Code: