About SeekIC | Services | Payment | Advertisements service | Contact Us | Links
© 2008-2012 SeekIC.com Corp.All Rights Reserved.
Published:2009/7/9 23:40:00 Author:May | From:SeekIC

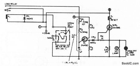
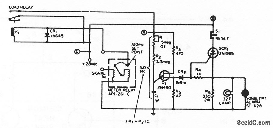
Circuit sounds alarm if gyro wheel is locked up, as indicated by input signed remaining at high current or voltage level for longer than preset interval.Circuit can also be used as pulse-level discrimincttor.-R. L. Sazpansky, Pulse-Level Discriminator and Fault Indicator, EEE, 13:8, p 68.
Reprinted Url Of This Article:
http://www.seekic.com/circuit_diagram/Control_Circuit/Alarm_Control/GYRO_FAULT_ALARM.html
Print this Page | Comments | Reading(3)
Response in 12 hours
© 2008-2012 SeekIC.com Corp.All Rights Reserved.
Code: