Published:2011/6/2 3:57:00 Author:Lucas | Keyword: Hazardous area , alarm | From:SeekIC

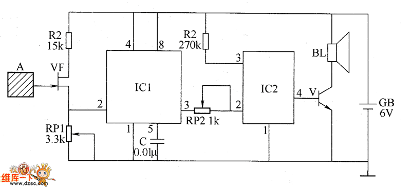
The hazardous area alarm circuit is composed of the induction electrode piece A, JFET VP, time-base integrated circuit ICl, language integrated circuit IC2, audio amplifier tube V and speaker BL, and the circuit is shown as the chart. Adjusting the resistance of RP1 and RP2 can change the sensitivity of the circuit, so if people were less than 0.5m from the induction electrode piece, the alarm will emit sound. If people were 0.5m far away from the induction electrode piece, the alarm does not emit sound. R1 and R2 select 1/4W carbon film resistors. RP1 and RP2 use sealed variable resistors. C uses polyester capacitor or monolithic capacitor. V uses 59013 silicon NPN transistor. VF uses 3DJ6 field effect transistor. BL uses 0.5W, 8Ω electric speaker.
Reprinted Url Of This Article:
http://www.seekic.com/circuit_diagram/Control_Circuit/Alarm_Control/Hazardous_area_alarm_circuit_diagram_3.html
Print this Page | Comments | Reading(3)
Code: