Published:2009/7/2 3:01:00 Author:May | From:SeekIC

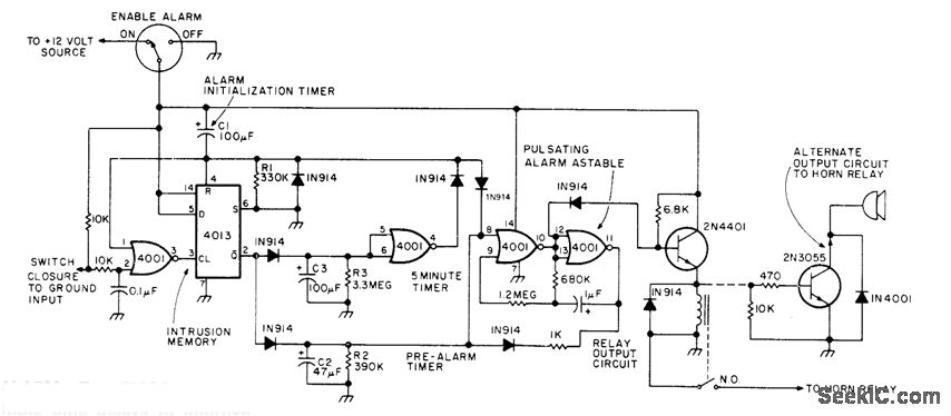
Two CMOS packages incorporate multiple time delays to improve convenience and effectiveness of auto intrusion alarm. R1C1 gives 30-s delay for arming alarm after it is turned on by switch concealed inside car, to let driver get out of car. R2C2 gives 15-s delay before alarm sounds after door is opened, to allow driver to get back in car again and disable alarm. R3C3 turns off alarm in 300 s and resets alarm system for next intrusion. Car horn is pulsed 60 times per minute, so alarm would not be confused with stuck horn. Article tells how circuit works and gives detailed instruc-tions for instailation and connection to door and trunk switches.-G. Hinkle, Give the Hamburglar Heart Failure, 73Magazine, Feb. 1977, p 36-37.
Reprinted Url Of This Article:
http://www.seekic.com/circuit_diagram/Control_Circuit/Alarm_Control/PULSED_HORN_ALARM.html
Print this Page | Comments | Reading(3)
Code: