Published:2009/6/28 23:31:00 Author:May | From:SeekIC


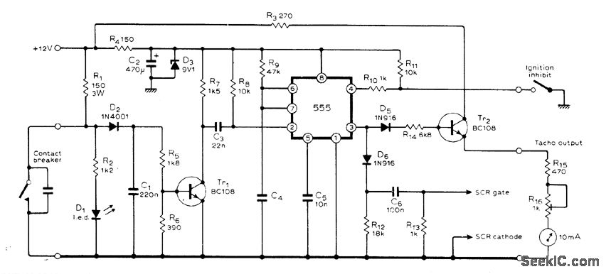
Used with capacitor-discharge ignition system to provide tachometer output along with engine speed control signal. When breaker contacts open, C1 charges and turns Tr1 on, triggering 555 timer used in mono MVBR mode, Resulting positive pulse from 555 fires control SCR through D6 and C6. When contacts dose, D2 isolates C1 to reduce effect of contact bounce. With values shown, for speed limit between 8000 and 9000 rpm, use 0.068 μF for C4 with four-cylinder engine, 0.047 pF for six cylinders, and 0.033 μF for eight cylinders; LED across breaker contacts can be used for setting static timing.-K. Wevill, Trigger Circuit for C.D.l. Systems, Wireless World, Jan. 1978, p 58
Reprinted Url Of This Article:
http://www.seekic.com/circuit_diagram/Control_Circuit/Alarm_Control/RPM_LIMIT_ALARM.html
Print this Page | Comments | Reading(3)
Code: