Published:2011/6/29 6:15:00 Author:Sue | Keyword: Anti Lost, Alarm | From:SeekIC

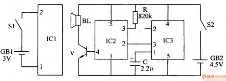
When the distance between the wireless transmitter and the wireless receiver is within 8m, IC2's inner tiny antenna will receive the high-frequency signals emitted by IC1's inner tiny antenna. IC2's pin 2 will output high level after the signals are amplified, detected, delayed and transformed. Its pin 3 will output low level. IC3 doesn't work and BL makes no sound.
When the distance is beyond 8m, the receiver will receive no signals. IC2's pin 2 will output low level and pin 3 will output high level. IC3 will be connected. The signals will promote BL to make an alarm sound after the signals are amplified by V.
Reprinted Url Of This Article:
http://www.seekic.com/circuit_diagram/Control_Circuit/Anti_Lost_Alarm_1.html
Print this Page | Comments | Reading(3)
Code: