Published:2011/6/29 6:33:00 Author:Sue | Keyword: Anti Lost, Alarm | From:SeekIC

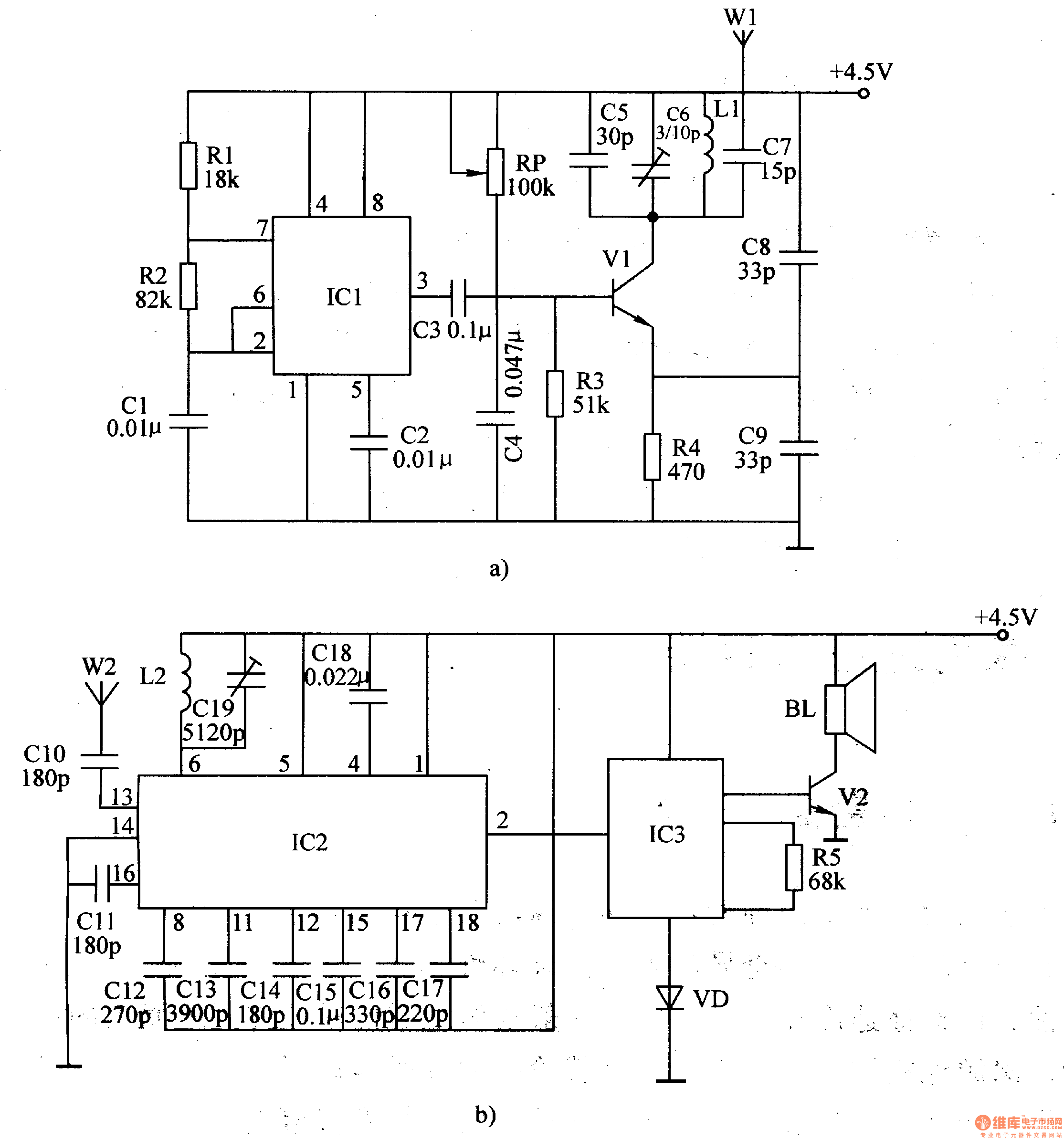
After the low-frequency oscillator begins to work, it will output 1kHz oscillate signals which will be output by W1.
When the distance between the receiver and the transmitter is within 3m, W2 will receive the high-frequency signals. IC2's pin 2 will output low level and IC3 doesn't work. BL makes no sound.
When the diatance is beyond 3m, the receiver receives no signals and IC2's pin 2 will output high level and IC3 begins to work. The signals will promote BL to make an alarm sound after the signals are amplified by V2.
Reprinted Url Of This Article:
http://www.seekic.com/circuit_diagram/Control_Circuit/Anti_Lost_Alarm_4.html
Print this Page | Comments | Reading(3)
Code: