Published:2009/6/17 2:01:00 Author:May | From:SeekIC

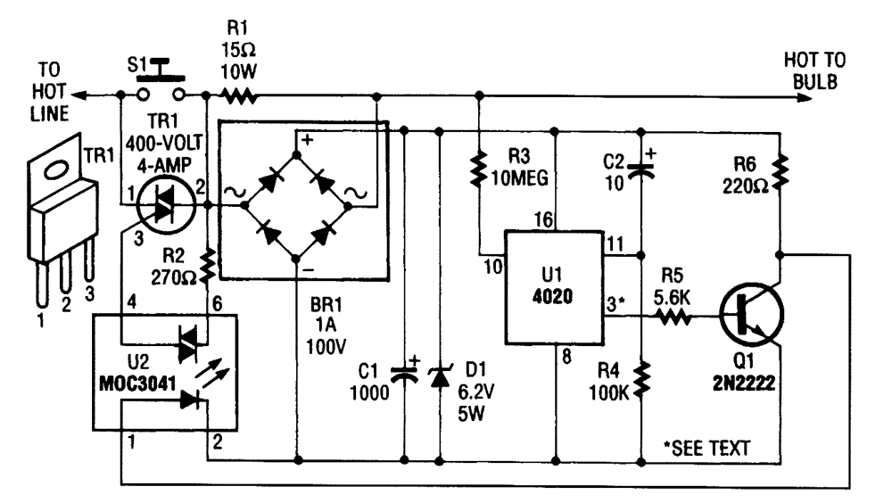
The automatic porch-light control circuit holds a triac on until a 4020 divider counts a number of 60-Hz powerline pulses. The circuit turns off a light after a predetermined time by using pins other than pin 3 of UI. Various times can be set. Consult the 4020 data sheet for information.
Reprinted Url Of This Article:
http://www.seekic.com/circuit_diagram/Control_Circuit/Automatic_Control/AUTOMATIC_PORCH_LIGHT_CONTROL.html
Print this Page | Comments | Reading(3)
Code: