Published:2009/6/16 2:35:00 Author:May | From:SeekIC

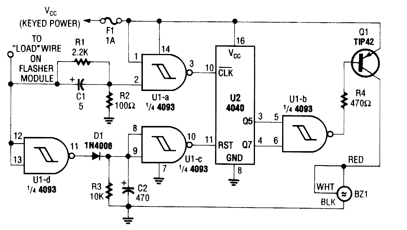
This circuit counts turn signal flashes. At the end of about 70 flashes, a chime sounds to remind the driver to turn off the turn signal. By using various taps on U2, the period can be changed if de-sired. BZ1 is a buzzer or chime module.
Reprinted Url Of This Article:
http://www.seekic.com/circuit_diagram/Control_Circuit/Automatic_Control/AUTO_TURN_SIGNAL_REMINDER.html
Print this Page | Comments | Reading(3)
Code: