Published:2011/6/26 20:36:00 Author:Nora | Keyword: Infrared, dimmer, controller | From:SeekIC

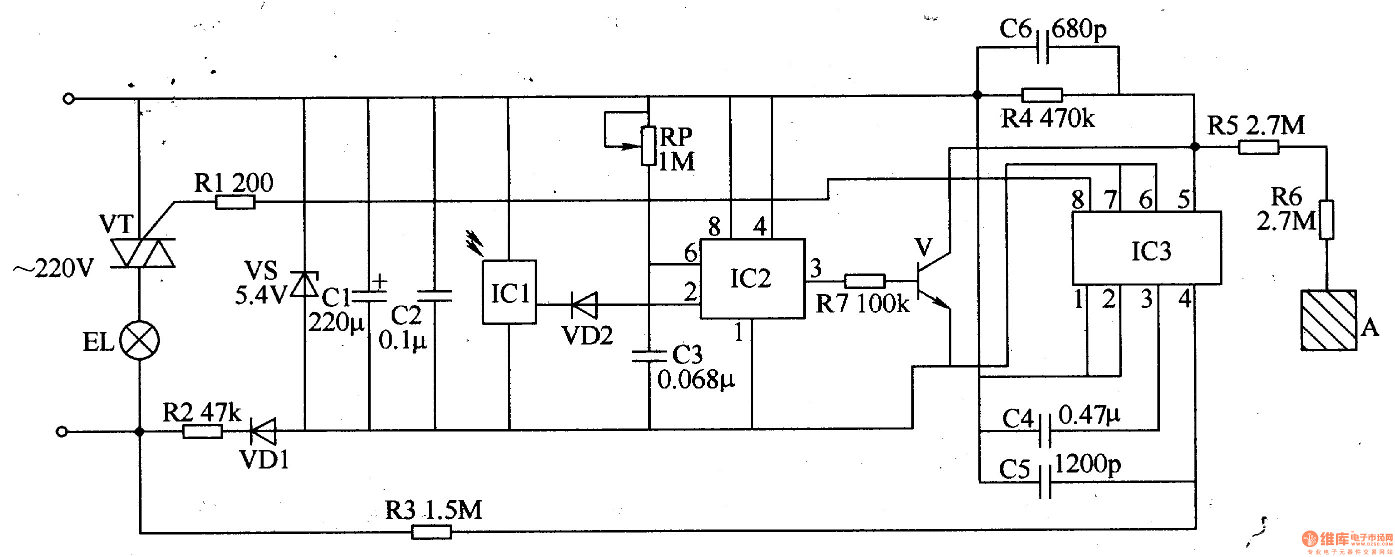
AC 220V voltage filtered by R2-limiting step, VDl rectifier, VS regulator and Cl, C2. It provide DC voltage about 5V for ICl-IC3 (Vcc).In pressing the remote control button, the remote control infrared remote control pulse(the time is less than 0.45 when press the remote control button , the remote control application output pulses 1-3; if the remote control button press time over .45 , the output of the remote control more than 3 Burst). 1C1 will receive the infrared pulse train amplification, demodulation, and plastic surgery and other treatment, output a low pulse, the VD2 turn, C3 quickly discharges. When the voltage across C3 is lower than Vcc / 3 时, IC2's output of 3 feet high, so that V conduction. When through a pulse train, VD2 end, +5 V voltage charging of C3 by the RP, the IC2 pin 2, 6-pin voltage rise, when the voltage is increased to 2Vcc / 3 时, lC2 flip-circuit, 3-pin change low, V cut-off. If the new moon in the C3 charge between ICl and output a low pulse, C3 will discharge again, then keep the output of IC2 3 feet high.
Reprinted Url Of This Article:
http://www.seekic.com/circuit_diagram/Control_Circuit/Automatic_Control/Infrared_remote_control_dimmer_speed_controller_diagram_1.html
Print this Page | Comments | Reading(3)
Code: