© 2008-2012 SeekIC.com Corp.All Rights Reserved.
Published:2011/7/7 22:29:00 Author:Felicity | Keyword: Timing Controller | From:SeekIC

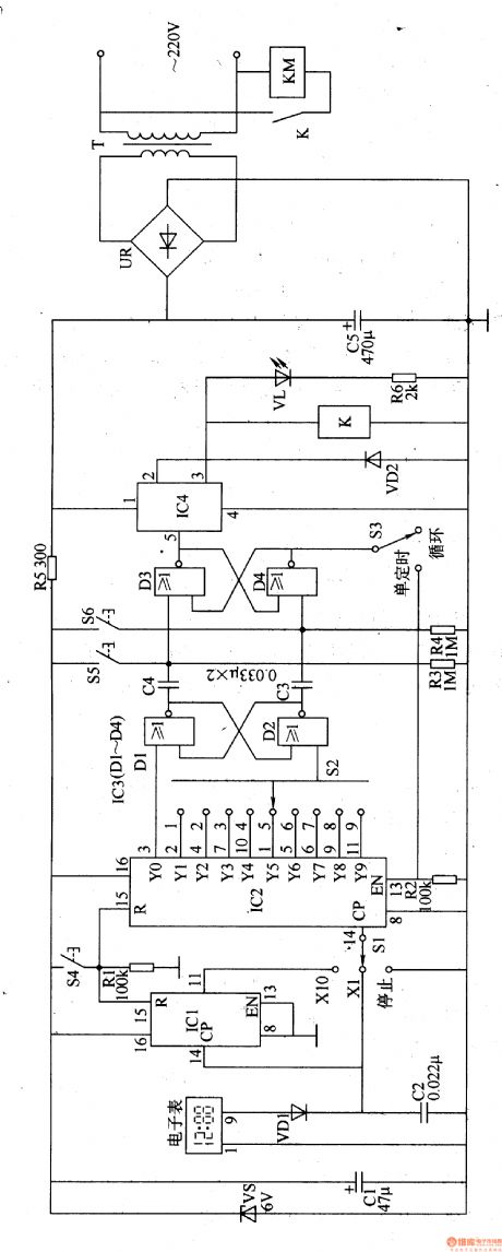
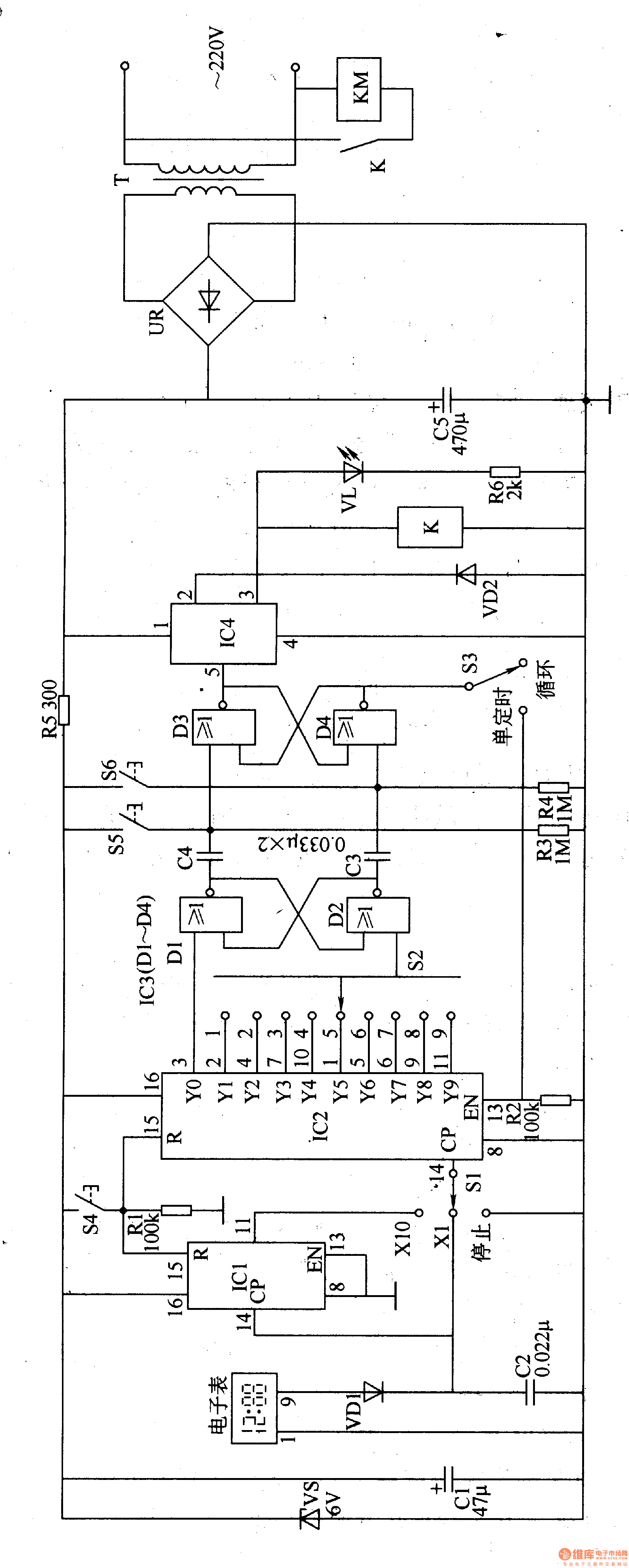
Work of the circuit
The circuit consists of Power supply circuit, the clock signal generator, counting distributor circuit, flip-flop circuit and control output circuit. (It is showed in picture 8-90.)
Power supply circuit consists of Power transformer T, bridge rectifier, UR, filter capacitor Cl, C5, current limiting resistor R5 and Zener VS.
The clock signal generator consists of electronic clock, diodes VDl, capacitor C2 and the count divider integrated circuit ICl.
Counting distributor circuit consists of count divider integrated circuit IC2, resistors Rl, R2, timer selection switch Sl, S2 and reset button S4.
Flip-flop circuit consists of NAND gate integrated circuit IC3 (Dl-D4) and capacitor C3, C4, resistor R3, R4, the Close button S5, S6 on the button and loop / single timer switch S3.
Control output circuit consists of electronic switch integrated circuit IC4, diode VD2, relay K, light-emitting diode VL, resistors R6 and AC contactor KM.
Reprinted Url Of This Article:
http://www.seekic.com/circuit_diagram/Control_Circuit/Automatic_Control/Timing_Controller_the_1st.html
Print this Page | Comments | Reading(3)
Response in 12 hours
© 2008-2012 SeekIC.com Corp.All Rights Reserved.
Code: