Published:2011/4/26 5:16:00 Author:Robert | Keyword: Ventilator, Auto Exhauster | From:SeekIC

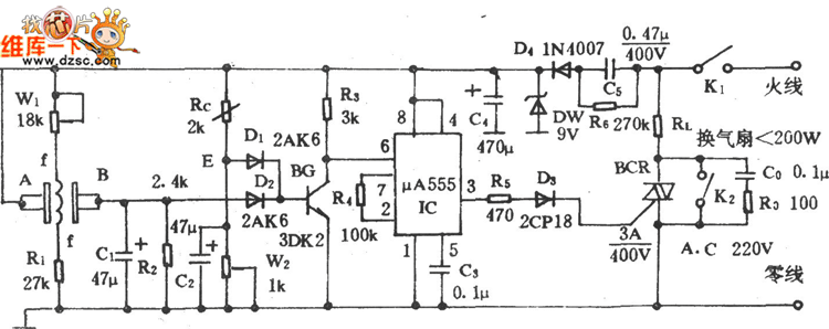
Ventilator Auto Exhauster Circuit (1) is shown below:
Reprinted Url Of This Article:
http://www.seekic.com/circuit_diagram/Control_Circuit/Automatic_Control/Ventilator_Auto_Exhauster_Circuit_1.html
Print this Page | Comments | Reading(3)
Code: