Published:2011/4/23 1:48:00 Author:Robert | Keyword: Ventilator, Automatic Exhaust Control | From:SeekIC

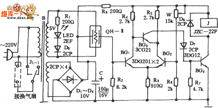
Ventilator Automatic Exhaust Control Circuit (2) is shown below:
Reprinted Url Of This Article:
http://www.seekic.com/circuit_diagram/Control_Circuit/Automatic_Control/Ventilator_Automatic_Exhaust_Control_Circuit_2.html
Print this Page | Comments | Reading(3)
Code: