Published:2011/7/14 5:56:00 Author:Sue | Keyword: Automatic, Sprinkling Irrigation, Controller | From:SeekIC

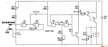
When the soil humidity is proper, the resistance value between the humidity detector's two probes is small. D1's input terminal has low level and the schmitt trigger cannot be triggered. Then D4 outputs high level which will make V1 and V2 disconnected. K is not connected and the water pump doesn't work. VL2 is not illuminated. At the same time, V3 is connected, VL1 is illuminated which indicates that the soil humidity is proper.
When the soil humidity is low enough, and the resistance value between the humidity sensor's two probes reaches a certain given value, the schmitt trigger will be reversed. The monostable trigger will get a negative skipping pulse through C2 which will make the monostable trigger reversed. D4 will output low level which will make V3 disconnected. VL1 is illuminated. V1 and V2 are connected and K is connected. The water pump begins to work. At the same time VL2 will be illuminated indicating that it is sprinkling.
Reprinted Url Of This Article:
http://www.seekic.com/circuit_diagram/Control_Circuit/Automatic_Sprinkling_Irrigation_Controller_7.html
Print this Page | Comments | Reading(3)
Code: