Published:2009/7/23 21:43:00 Author:Jessie | From:SeekIC

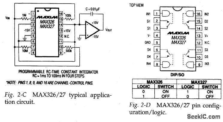
Figures 2-C and 2-D show the typical application circuit and pin configuration/ logic, respectively, for the MAX326/27. Test this ultra-low-leakage CMOS analog switch by applying and removing +5 V to the channel-control pins, and checking that the corresponding switches open and close. Use an ohmmeter connected across the switch pins.
Reprinted Url Of This Article:
http://www.seekic.com/circuit_diagram/Control_Circuit/Basic_function_tests.html
Print this Page | Comments | Reading(3)
Code: