Published:2011/6/27 3:28:00 Author:Sue | Keyword: Boiling Water, Alarm | From:SeekIC

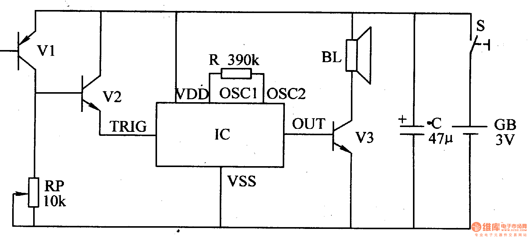
When the temperature in the kettle is low, VZ is disconnected and IC doesn't work. BL doesn't make a sound. As the temperature keeps going up, there is more lost current. When the water is boiled, the output voltage of V1 reaches the connect voltage value of V2, and V2 will be connected. IC will start to work. When the output sound signal is amplified by V3, BL will make an alarm sound.
Reprinted Url Of This Article:
http://www.seekic.com/circuit_diagram/Control_Circuit/Boiling_Water_Alarm_2.html
Print this Page | Comments | Reading(3)
Code: